תנאי הכפף של 466 לקורות

6 פוסטים / 0 חדשים
פרסום אחרון
Shayba
התמונה של Shayba
היי חבר'ה!יש לי שאלה, אני

היי חבר'ה!

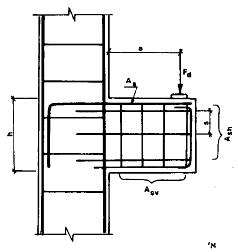
יש לי שאלה, אני רוצה לבדוק קורה זיזית לכפף לפי ת"י 466

(עמוד 98) - בכל אופן יש לי כוח מרוכז בקצה ואין התייחסות לכך

בתקן.

ז"א שהתקן דורש עומס ליחידת שטח על מנת לבדוק את תנאי הכפף -

הוא אף מתייחס למקרה של עומס פרוס קווי ואומר שאם יש עומס

קווי יש לחלק אותו בעובי הקורה לקבלת עומס ליחידת שטח - אבל

מה קורה במצב של עומס מרוכז? האם זה חוקי לחלק אותו על הקורה

ואז לחלק בעובי הקורה לקבלת עומס ליחידת שטח?

naish10
התמונה של naish10
[QUOTE=Shayba]האם זה חוקי

Shayba wrote:
האם זה חוקי לחלק אותו על הקורה
ואז לחלק בעובי הקורה לקבלת עומס ליחידת שטח?


אלו הן דרישות התקן עבור חישוב כפף.


כשתגיע לשלב בו תידרש לחשב את כמות ופרטי הזיון בזיז, תפתח את תקן 466 חלק 2


Shayba
התמונה של Shayba
יופי תודה!לגבי זיון אני דווקא

יופי תודה!

לגבי זיון אני דווקא יודע, אבל לגבי פריסת עומס מרוכז בקצה על כל הקורה לא

הייתי בטוח- אם כן אז הכל טוב - תודה!

elir
התמונה של elir
החישוב בחלק 2 מתיחס לזיז קצר,

החישוב בחלק 2 מתיחס לזיז קצר, לשים לב כי זיז קצר יחשב רק עם גובה ה"קורה" גדול מאורך הקורה...


לגבי בדיקת תמירות בגלל שהעומס מרוכז L0=3L ו Fser=P/L


לפי מילות התקן 466-1

haniengnof
התמונה של haniengnof
חוברת סטטיקה מתייחסת להמרת

חוברת סטטיקה מתייחסת להמרת עומסים בכל מיני צורות לעומס מפורס אחיד , ואז ניתן לחשב את המקדם K12 ולחשב את עובי התקרה לפי תנאי הכפף המוגדרים בת"י 466 - 2003